EDI超纯水系统清洗EDI方案
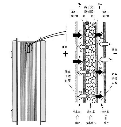
EDI超纯水系统是比较重要的超纯水系统,而作为重要零部件的EDI更是在系统中承担着重要的作用,这种技术的核心采用的是一种将离子交换技术,离子交换膜技术和离子电迁移技术相结合的纯水制造技术,属高科技绿色环保技术。
EDI超纯水处理设备具有连续出水、无需酸碱再生和无人值守等优点,已在制备纯水的系统中逐步代替混床作为精处理设备使用。EDI超纯水处理设备的环保特性好,操作使用简便,愈来愈多地被人们所认可,也愈来愈多广泛地在医药、电子、电力、化工等行业得到推广。

前处理工艺主要为超滤、三级反渗透、TOC 降解紫外灯和脱气膜装置,虽然在前置预处理中可以很好地杜绝大部分的杂质进入EDI中,但由各个单元部分并非完全的密封状态,所以依然会有微生物进入水中,而这部分微生物会不断的累积在EDI表面,堵塞EDI离子交换通道,从而堵塞整个制水过程。同时在不同季节中,由于前置预处理部分会由温度控制产水量,所以也会导致前置预处理能力下降,加重EDI水处理负担,从而更容易的堵塞EDI离子交换通道,导致EDI各项运行指标下降,降低了最终的产水水质
。
为了保证EDI产生性能的稳定,通过对EDI装置的研究与各种科学文献的结果,豪利777官网科技有限公司摸索出适合于不同系统的EDI清洗方案,而根据不同企业的需求性和功能性不同,EDI清洗方案会随之改变,一般EDI清洗约为一年左右的时间,这时候只要不是用水非常大量的情况,都不会出现严重的水质下降情况,可以很好地保证水质情况。
该方案主要使用用酸性清洗、碱性清洗和灭菌维护逐步进行。酸性清洗的药剂主要选用盐酸用于清洗浓水道、极水道的碳酸盐垢、硫酸钙、金属氧化物和铁铝胶体等,碱性清洗的药剂主要选用固体 NaOH,主要用于清洗淡水道的有机物、胶体污染等,灭菌过程选用的药剂是杀菌剂,杀菌剂需要选择对膜表面无氧化反应的杀菌剂。
清洗注意事项:
1、清洗过程中要将清洗药液温度尽可能控制在 30 摄氏度左右,因为药液温度过低或过高均不利于提升清洗效果。
2、直通清洗和循环清洗过程均采用药液小流量、低压力方式进行,以避免对 EDI 装置使用寿命造成影响。
3、每完成一项清洗步骤,务必用二级反渗透产水冲洗清洗水箱,系统管路及 EDI 内部,才可进行下一步清洗步骤,避免酸、碱在 EDI 装置内部混和。
4、EDI 清洗药品纯度要求高袁 最好为分析级,如采用杂质较高的药品或不明来源的药品, 会对纯水系统及 EDI 装置造成污染影响水质,尤其对于用在微电子行业的超纯水系统,在使用清洗 EDI 的相关药品时必须更加注意。
5、灭菌过程最好采用无残留的非氧化型杀菌剂,避免氧化剂对 EDI 内部树脂及半透膜产生降解作用,缩短 EDI 使用寿命。
6、EDI系统化学清洗后还不能直接投入运行,因为化学清洗及灭菌会破坏EDI内部离子交换树脂带电电荷平衡,使装置清洗完成后初始运行产水达不到合格标准,需要通过对EDI带电一段时间使离子交换树脂在电场的作用下再生,EDI电再生前要确认调整EDI的运行压力和流量至清洗前的正常状态后,并将EDI产水回流至二级反渗透产水箱以便节水对整流器送电开始再生,每模块运行电流最好控制在2.5 A电压100 V左右,通过重新再生袁产水电阻率约4 h后可以提高至1 MΩcm约30 h产水电阻率可提升至17 MΩcm以上。

在EDI超纯水系统中,EDI的清洗并不是决定水质好坏的标准,假如前置预处理部分不行,对于EDI装置的损耗也会很大,这样也会导致EDI设备出现问题,导致最终水质不行,所以豪利777官网
在设计EDI超纯水系统时,就需要对每一个单元要有清晰的认知,才能使得最终的效果达到最好。
同类文章排行
- 超纯水机ro和up的ph值一般
- 实验室超纯水机RO膜哪个是
- 电导率和电阻值之间如何
- 超纯水机的电阻值多少范
- 树脂的寿命一般是多久?
- 2020版中国药典纯化水要求
- 纯水机中的废水比的工作
- 实验室动物饮用水标准有
- 实验室17种有毒试剂介绍
- 超纯水机ro水和up水的区别
